Square aluminum shell lithium batteries have many advantages such as simple structure, good impact resistance, high energy density, and large cell capacity. They have always been the main direction of domestic lithium battery manufacturing and development, accounting for more than 40% of the market.
The structure of the square aluminum shell lithium battery is as shown in the figure, which is composed of battery core (positive and negative electrode sheets, separator), electrolyte, shell, top cover and other components.

Square aluminum shell lithium battery structure
During the manufacturing and assembly process of square aluminum shell lithium batteries, a large number of laser welding processes are required, such as: welding of soft connections of battery cells and cover plates, cover plate sealing welding, sealing nail welding, etc. Laser welding is the main welding method for prismatic power batteries. Due to its high energy density, good power stability, high welding precision, easy systematic integration and many other advantages, laser welding is irreplaceable in the production process of prismatic aluminum shell lithium batteries. role.

Maven 4-axis automatic galvanometer platform fiber laser welding machine
The welding seam of the top cover seal is the longest welding seam in the square aluminum shell battery, and it is also the welding seam that takes the longest time to weld. In recent years, the lithium battery manufacturing industry has developed rapidly, and the top cover sealing laser welding process technology and its equipment technology have also developed rapidly. Based on the different welding speed and performance of the equipment, we roughly divide the top cover laser welding equipment and processes into three eras. They are the 1.0 era (2015-2017) with welding speed <100mm/s, the 2.0 era (2017-2018) with 100-200mm/s, and the 3.0 era (2019-) with 200-300mm/s. The following will introduce the development of technology along the path of the times:
1. The 1.0 era of top cover laser welding technology
Welding speed<100mm/s
From 2015 to 2017, domestic new energy vehicles began to explode driven by policies, and the power battery industry began to expand. However, the technology accumulation and talent reserves of domestic enterprises are still relatively small. Related battery manufacturing processes and equipment technologies are also in their infancy, and the degree of equipment automation Relatively low, equipment manufacturers have just begun to pay attention to power battery manufacturing and increase investment in research and development. At this stage, the industry’s production efficiency requirements for square battery laser sealing equipment are usually 6-10PPM. The equipment solution usually uses a 1kw fiber laser to emit through an ordinary laser welding head (as shown in the picture), and the welding head is driven by a servo platform motor or a linear motor. Movement and welding, welding speed 50-100mm/s.

Using 1kw laser to weld the battery core top cover
In the laser welding process, due to the relatively low welding speed and the relatively long thermal cycle time of the weld, the molten pool has enough time to flow and solidify, and the protective gas can better cover the molten pool, making it easy to obtain a smooth and full surface, welds with good consistency, as shown below.

Weld seam forming for low-speed welding of top cover
In terms of equipment, although the production efficiency is not high, the equipment structure is relatively simple, the stability is good, and the equipment cost is low, which well meets the needs of industry development at this stage and lays the foundation for subsequent technological development.
Although the top cover sealing welding 1.0 era has the advantages of simple equipment solution, low cost, and good stability. But its inherent limitations are also very obvious. In terms of equipment, the motor driving capacity cannot meet the demand for further speed increase; in terms of technology, simply increasing the welding speed and laser power output to further speed up will cause instability in the welding process and a decrease in yield: speed increase shortens the welding thermal cycle time, and the metal The melting process is more intense, the spatter increases, the adaptability to impurities will be worse, and spatter holes are more likely to form. At the same time, the solidification time of the molten pool is shortened, which will cause the weld surface to be rough and the consistency to be reduced. When the laser spot is small, the heat input is not large and the spatter can be reduced, but the depth-to-width ratio of the weld is large and the weld width is not enough; when the laser spot is large, larger laser power needs to be input to increase the width of the weld. Large, but at the same time it will lead to increased welding spatter and poor surface forming quality of the weld. Under the technical level at this stage, further speed-up means that yield must be exchanged for efficiency, and the upgrade requirements for equipment and process technology have become industry demands.
2. The 2.0 era of top cover laser welding technology
Welding speed 200mm/s
In 2016, China’s installed capacity of automobile power batteries was approximately 30.8GWh, in 2017 it was approximately 36GWh, and in 2018, Ushered in a further explosion,the installed capacity reached 57GWh, a year-on-year increase of 57%. New energy passenger vehicles also produced nearly one million, a year-on-year increase of 80.7%. Behind the explosion in installed capacity is the release of lithium battery manufacturing capacity. New energy passenger vehicle batteries account for more than 50% of the installed capacity, which also means that the industry’s requirements for battery performance and quality will become increasingly stringent, and the accompanying improvements in manufacturing equipment technology and Process technology has also entered a new era: in order to meet the single-line production capacity requirements, the production capacity of top cover laser welding equipment needs to be increased to 15-20PPM, and its laser welding speed needs to reach 150-200mm/s. Therefore, in terms of drive motors, various equipment manufacturers have The linear motor platform has been upgraded so that its motion mechanism meets the motion performance requirements for rectangular trajectory 200mm/s uniform speed welding; however, how to ensure welding quality under high-speed welding requires further process breakthroughs, and companies in the industry have conducted many explorations and studies: Compared with the 1.0 era, the problem faced by high-speed welding in the 2.0 era is: using ordinary fiber lasers to output a single point light source through ordinary welding heads, the selection is difficult to meet the 200mm/s requirement.
In the original technical solution, the welding forming effect can only be controlled by configuring options, adjusting the spot size, and adjusting basic parameters such as laser power: when using a configuration with a smaller spot, the keyhole of the welding pool will be small, the pool shape will be unstable, and the welding will become unstable. The seam fusion width is also relatively small; when using a configuration with a larger light spot, the keyhole will increase, but the welding power will be significantly increased, and the spatter and blast hole rates will be significantly increased.
Theoretically, if you want to ensure the weld forming effect of high-speed laser welding of the top cover, you need to meet the following requirements:
① The welding seam has sufficient width and the welding seam depth-to-width ratio is appropriate, which requires that the heat action range of the light source is large enough and the welding line energy is within a reasonable range;
② The weld is smooth, which requires the thermal cycle time of the weld to be long enough during the welding process so that the molten pool has sufficient fluidity, and the weld solidifies into a smooth metal weld under the protection of the protective gas;
③ The weld seam has good consistency and few pores and holes. This requires that during the welding process, the laser acts stably on the workpiece, and the high-energy beam plasma is continuously generated and acts on the inside of the molten pool. The molten pool produces “key” under the plasma reaction force. “hole”, the keyhole is large enough and stable enough, so that the generated metal vapor and plasma are not easy to eject and bring out metal droplets, forming splashes, and the molten pool around the keyhole is not easy to collapse and involve gas. Even if foreign objects are burned during the welding process and gases are released explosively, a larger keyhole is more conducive to the release of explosive gases and reduces metal spatter and holes formed.
In response to the above points, battery manufacturing companies and equipment manufacturing companies in the industry have made various attempts and practices: Lithium battery manufacturing has been developed in Japan for decades, and related manufacturing technologies have taken the lead.
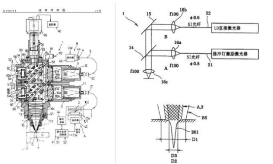
In 2004, when fiber laser technology had not yet been widely commercially applied, Panasonic used LD semiconductor lasers and pulse lamp-pumped YAG lasers for mixed output (the scheme is shown in the figure below).

Scheme diagram of multi-laser hybrid welding technology and welding head structure
The high-power density light spot generated by the pulsed YAG laser with a small spot is used to act on the workpiece to generate welding holes to obtain sufficient welding penetration. At the same time, the LD semiconductor laser is used to provide CW continuous laser to preheat and weld the workpiece. The molten pool during the welding process provides more energy to obtain larger welding holes, increase the width of the welding seam, and extend the closing time of the welding holes, helping the gas in the molten pool to escape and reducing the porosity of the welding seam, as shown below

Schematic diagram of hybrid laser welding
Applying this technology, YAG lasers and LD lasers with only a few hundred watts of power can be used to weld thin lithium battery cases at a high speed of 80mm/s. The welding effect is as shown in the figure.

Weld morphology under different process parameters
With the development and rise of fiber lasers, fiber lasers have gradually replaced pulsed YAG lasers in laser metal processing due to their many advantages such as good beam quality, high photoelectric conversion efficiency, long life, easy maintenance, and high power.
Therefore, the laser combination in the above laser hybrid welding solution has evolved into a fiber laser + LD semiconductor laser, and the laser is also coaxially output through a special processing head (the welding head is shown in Figure 7). During the welding process, the laser action mechanism is the same.

Composite laser welding joint
In this plan, the pulsed YAG laser is replaced by a fiber laser with better beam quality, greater power, and continuous output, which greatly increases the welding speed and obtains better welding quality (the welding effect is shown in Figure 8). This plan also Therefore, it is favored by some customers. Currently, this solution has been used in the production of power battery top cover sealing welding, and can reach a welding speed of 200mm/s.

Appearance of top cover weld by hybrid laser welding
Although the dual-wavelength laser welding solution solves the weld stability of high-speed welding and meets the weld quality requirements of high-speed welding of battery cell top covers, there are still some problems with this solution from the perspective of equipment and process.
First of all, the hardware components of this solution are relatively complex, requiring the use of two different types of lasers and special dual-wavelength laser welding joints, which increases equipment investment costs, increases the difficulty of equipment maintenance, and increases potential equipment failure points;
Second, the dual-wavelength laser welding joint used is composed of multiple sets of lenses (see Figure 4). The power loss is larger than that of ordinary welding joints, and the lens position needs to be adjusted to the appropriate position to ensure the coaxial output of the dual-wavelength laser. And focusing on a fixed focal plane, long-term high-speed operation, the position of the lens may become loose, causing changes in the optical path and affecting the welding quality, requiring manual re-adjustment;
Third, during welding, laser reflection is severe and can easily damage equipment and components. Especially when repairing defective products, the smooth weld surface reflects a large amount of laser light, which can easily cause a laser alarm, and the processing parameters need to be adjusted for repair.
In order to solve the above problems, we have to find another way to explore. In 2017-2018, we studied the high-frequency swing laser welding technology of the battery top cover and promoted it to production application. Laser beam high-frequency swing welding (hereinafter referred to as swing welding) is another current high-speed welding process of 200mm/s.
Compared with the hybrid laser welding solution, the hardware part of this solution only requires an ordinary fiber laser coupled with an oscillating laser welding head.

wobble wobble welding head
There is a motor-driven reflective lens inside the welding head, which can be programmed to control the laser to swing according to the designed trajectory type (usually circular, S-shaped, 8-shaped, etc.), swing amplitude and frequency. Different swing parameters can make the welding cross section Comes in different shapes and different sizes.

Welds obtained under different swing trajectories
The high-frequency swing welding head is driven by a linear motor to weld along the gap between the workpieces. According to the wall thickness of the cell shell, the appropriate swing trajectory type and amplitude are selected. During welding, the static laser beam will only form a V-shaped weld cross section. However, driven by the swing welding head, the beam spot swings at high speed on the focal plane, forming a dynamic and rotating welding keyhole, which can obtain a suitable weld depth-to-width ratio;
The rotating welding keyhole stirs the weld. On the one hand, it helps the gas escape and reduces the weld pores, and has a certain effect on repairing the pinholes in the weld explosion point (see Figure 12). On the other hand, the weld metal is heated and cooled in an orderly manner. The circulation makes the surface of the weld appear a regular and orderly fish scale pattern.

Swing welding seam forming

Adaptability of welds to paint contamination under different swing parameters
The above points meet the three basic quality requirements for high-speed welding of the top cover. This solution has other advantages:
① Since most of the laser power is injected into the dynamic keyhole, the external scattered laser is reduced, so only a smaller laser power is needed, and the welding heat input is relatively low (30% less than composite welding), which reduces equipment loss and energy loss;
② The swing welding method has high adaptability to the assembly quality of workpieces and reduces defects caused by problems such as assembly steps;
③The swing welding method has a strong repair effect on weld holes, and the yield rate of using this method to repair battery core weld holes is extremely high;
④The system is simple, and the equipment debugging and maintenance are simple.
3. The 3.0 era of top cover laser welding technology
Welding speed 300mm/s
As new energy subsidies continue to decline, almost the entire industrial chain of the battery manufacturing industry has fallen into a red sea. The industry has also entered a reshuffle period, and the proportion of leading companies with scale and technological advantages has further increased. But at the same time, “improving quality, reducing costs, and increasing efficiency” will become the main theme of many companies.
In the period of low or no subsidies, only by achieving iterative upgrades of technology, achieving higher production efficiency, reducing the manufacturing cost of a single battery, and improving product quality can we have an extra chance of winning in the competition.
Han’s Laser continues to invest in research on high-speed welding technology for battery cell top covers. In addition to the several process methods introduced above, it also studies advanced technologies such as annular spot laser welding technology and galvanometer laser welding technology for battery cell top covers.
In order to further improve production efficiency, explore top cover welding technology at 300mm/s and higher speed. Han’s Laser studied scanning galvanometer laser welding sealing in 2017-2018, breaking through the technical difficulties of difficult gas protection of the workpiece during galvanometer welding and poor weld surface forming effect, and achieving 400-500mm/s laser welding of the cell top cover. Welding takes only 1 second for a 26148 battery.
However, due to the high efficiency, it is extremely difficult to develop supporting equipment that matches the efficiency, and the equipment cost is high. Therefore, no further commercial application development was carried out for this solution.
With the further development of fiber laser technology, new high-power fiber lasers that can directly output ring-shaped light spots have been launched. This type of laser can output point-ring laser spots through special multi-layer optical fibers, and the spot shape and power distribution can be adjusted, as shown in the figure

Welds obtained under different swing trajectories
Through adjustment, the laser power density distribution can be made into a spot-donut-tophat shape. This type of laser is named Corona, as shown in the figure.

Adjustable laser beam (respectively: center light, center light + ring light, ring light, two ring lights)
In 2018, the application of multiple lasers of this type in the welding of aluminum shell battery cell top covers was tested, and based on the Corona laser, research on the 3.0 process technology solution for laser welding of battery cell top covers was launched. When the Corona laser performs point-ring mode output, the power density distribution characteristics of its output beam are similar to the composite output of a semiconductor + fiber laser.
During the welding process, the center point light with high power density forms a keyhole for deep penetration welding to obtain sufficient welding penetration (similar to the output of the fiber laser in the hybrid welding solution), and the ring light provides greater heat input , enlarge the keyhole, reduce the impact of metal vapor and plasma on the liquid metal at the edge of the keyhole, reduce the resulting metal splash, and increase the thermal cycle time of the weld, helping the gas in the molten pool to escape for a longer time, improving Stability of high-speed welding processes (similar to the output of semiconductor lasers in hybrid welding solutions).
In the test, we welded thin-walled shell batteries and found that the weld size consistency was good and the process capability CPK was good, as shown in Figure 18.

Appearance of battery top cover welding with wall thickness 0.8mm (welding speed 300mm/s)
In terms of hardware, unlike the hybrid welding solution, this solution is simple and does not require two lasers or a special hybrid welding head. It only requires a common ordinary high-power laser welding head (since only one optical fiber outputs a single wavelength Laser, the lens structure is simple, no adjustment is required, and the power loss is low), making it easy to debug and maintain, and the stability of the equipment is greatly improved.
In addition to the simple system of the hardware solution and meeting the high-speed welding process requirements of the battery cell top cover, this solution has other advantages in process applications.
In the test, we welded the battery top cover at a high speed of 300mm/s, and still achieved good welding seam forming effects. Moreover, for shells with different wall thicknesses of 0.4, 0.6, and 0.8mm, only By simply adjusting the laser output mode, good welding can be performed. However, for dual-wavelength laser hybrid welding solutions, it is necessary to change the optical configuration of the welding head or laser, which will bring greater equipment costs and debugging time costs.
Therefore, the point-ring spot laser welding solution can not only achieve ultra-high-speed top cover welding at 300mm/s and improve the production efficiency of power batteries. For battery manufacturing companies that need frequent model changes, this solution can also greatly improve the quality of equipment and products. compatibility, shortening the model change and debugging time.


Appearance of battery top cover welding with wall thickness 0.4mm (welding speed 300mm/s)


Appearance of battery top cover welding with wall thickness 0.6mm (welding speed 300mm/s)

Corona Laser Weld Penetration for Thin-Wall Cell Welding – Process Capabilities
In addition to the Corona laser mentioned above, AMB lasers and ARM lasers have similar optical output characteristics and can be used to solve problems such as improving laser weld spatter, improving weld surface quality, and improving high-speed welding stability.
4. Summary
The various solutions mentioned above are all used in actual production by domestic and foreign lithium battery manufacturing companies. Due to different production time and different technical backgrounds, different process solutions are widely used in the industry, but companies have higher requirements for efficiency and quality. It is constantly improving, and more new technologies will soon be applied by companies at the forefront of technology.
China’s new energy battery industry started relatively late and has developed rapidly driven by national policies. Related technologies have continued to advance with the joint efforts of the entire industry chain, and have comprehensively shortened the gap with outstanding international companies. As a domestic lithium battery equipment manufacturer, Maven is also constantly exploring its own areas of advantage, helping iterative upgrades of battery pack equipment, and providing better solutions for the automated production of new energy energy storage battery module packs.
Post time: Sep-19-2023








